Продукция
История некоторых проектов/p>
Особенности каркасных перегородок
Востребованность перегородок объясняется высокой прочностью, приемлемой ценой и высокими декоративными свойствами. В компании КонцептСити вы можете заказать межкомнатные перегородки и перегородки для офиса на алюминиевом каркасе – с остеклением и с глухим заполнением, в том числе в наборе и офисные двери. И все это с бесплатной доставкой по всей Беларуси.

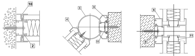
Производятся алюминиевые перегородки с переносом веса на нижнюю часть, вернее – на напольное покрытие. Такой способ изготовления отличается множеством преимуществ перед зажимными изделиями, где основная нагрузка сосредоточена вверху. Этот тип конструкций также характеризуется другими достоинствами:
- каркасные перегородки из алюминиевых сплавов изготовлены с минимумом профилей, что ведет к упрощению проектирования и облегчает монтаж алюминиевой конструкции;
- общая толщина системы всего 6,7 см, материалы наполнения могут составлять около 5-12 мм;
- на виду остается только узкая часть конструкции – 2, 4 см, и в дверных полотнах 6см, что обеспечивает эстетическую привлекательность и создает эффект невесомости, легкости.

Система каркасно-обшивных алюминиевых офисных перегородок сочетается с различными дверями:
- одинарный или двойной витраж в алюминиевой обвязке, в том числе со встроенными жалюзи;
- стеклянные двери;
- кашированные полотна;
- ламинированные двери.
Такие системы –имеют функциональное планировочное решение, которое применимо при обустройстве помещений разного назначения. Особенно востребованы остекленные алюминиевые конструкции в торговых центрах и офисах.
Основные особенности устройства каркасных алюминиевых перегородок компании КонцептСити:
- система рассчитана на соединение отдельных частей под разными углами;
- наличие закаленного стекла полностью соответствует нормам безопасной эксплуатации;
- могут монтироваться без верхнего крепления;
- установка занимает минимальное количество времени.

Важно обратить внимание, что возможность крепление каркасных перегородок на выбор может осуществляться к потолкам из профнастила, гипсокартона, а также бетонным, подвесным, а также есть решения без крепления к потолкам или перекрытиям. Эта конструктивная особенность важна при заселении в арендные помещения, где отстутсвет возможность нарушать целостность стен и потолков.
Часто помещения отличаются нестандартными размерами, поэтому для разделения их на зоны требуется воспользоваться конструкциями с определенными характеристиками. Системы проифльных перегородок полностью соответствуют этим требованиям, с помощью специальных элементов монтаж осуществляется при любых конфигурациях потолка и стен. Например, несколько секций могут соединяться под углом 270 ˚. Кроме этого, конструкции могут быть собраны по радиусу, преломление которого не более 14 °.

Перегородки полностью соответствуют высоким требованиям дизайнерских тенденций для административных и офисных помещений. Стеклянные варианты создают эффект воздушности и легкости, глухие варианты – ощущение защищенности. Эстетические свойства дополняются высокими техническими и эксплуатационными показателями.
Приобретая каркасные алюминиевые перегородки от компании "КонцептСити" ООО, вы делаете правильный выбор! Новейшие технологии, доступная цена за м2, высокий уровень обслуживания – именно здесь вы сделаете выгодную покупку! Для получения информации звоните по телефону в Минске +375 29 640 30 51 или +375 17 227 60 80, отправить заявку на эллектронный адрес center@conceptcity.by
- Летние террасы кафе и ресторанов (ОСТЕКЛЕНИЕ ТЕРРАС | ВЕРАНД )
- Фурнитура для стекла ORMAN (Фурнитура ORMAN)
- Панорамное остекление террасы (ОСТЕКЛЕНИЕ ТЕРРАС | ВЕРАНД )
- Цельностеклянные (Ограждения из стекла )
- Фурнитура для стекла перегородок и дверей (Фурнитура ORMAN)
- INTERO (Интерьерные перегородки и двери)
- Intero-400 (Перегородки Двери)
- Алюминиевые стеклянные (ДВЕРИ ОФИСНЫЕ | МЕЖКОМНТАНЫЕ )
- ЛОФТ Алюминиевые | Стеклянные коммерческие интерьеры (Перегородки )
- ЛОФТ LOFT Алюминиевые (ДВЕРИ ОФИСНЫЕ | МЕЖКОМНТАНЫЕ )
- Алюминиевые | Офисные (Перегородки )
- ИНТЕРЬЕРНЫЕ ДВЕРИ (ДВЕРИ ОФИСНЫЕ | МЕЖКОМНТАНЫЕ )
- Телескопические коробки (ДВЕРИ ОФИСНЫЕ | МЕЖКОМНТАНЫЕ )
- ЛОФТ Алюминиевые | Стеклянные частные интерьеры (Перегородки )
- Цельностеклянные (Перегородки Двери)
- Душевые из стекла (Перегородки )
- Стеклянные раздвижные (ДВЕРИ ОФИСНЫЕ | МЕЖКОМНТАНЫЕ )
- Душевые перегородки LOFT из стекла (Перегородки )
- SmartWall (Интерьерные перегородки и двери)
- Цельностеклянные | Стеклянные (Перегородки )
- Стеклянные (ДВЕРИ ОФИСНЫЕ | МЕЖКОМНТАНЫЕ )
- Автоматические (ДВЕРИ ОФИСНЫЕ | МЕЖКОМНТАНЫЕ )
- Мобильные (Перегородки )
- Мобильные (Перегородки Двери)
- Универсальная коробка (Интерьерные перегородки и двери)
- SLIM (Интерьерные перегородки и двери)
- Противопожарные (Перегородки Двери)
- Противопожарные (ДВЕРИ ОФИСНЫЕ | МЕЖКОМНТАНЫЕ )
- Противопожарные стеклянные (Перегородки )
- Раздвижные (Перегородки Двери)
- Трансформируемые | Акустические (Перегородки )
- MAGIC (Интерьерные перегородки и двери)
- Ламинированные (ДВЕРИ ОФИСНЫЕ | МЕЖКОМНТАНЫЕ )
- Сантехнические стеклянные перегородки (Перегородки )
- Сантехнические (Перегородки Двери)
- STELS (Интерьерные перегородки и двери)
- Эксклюзивные системы Art (Перегородки Двери)
- Навесные панели (Перегородки Двери)
- Раздвижные | Откатные | Телескоп (Перегородки )
- Навесные панели (Перегородки )
- TWIN II (Интерьерные перегородки и двери)























































































































































